
MIL-DTL-85069/11A
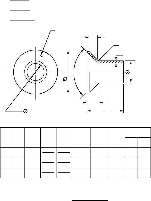
6. Tolerances. Tolerances are as indicated.
7. Lubrication. None.
8. Workmanship. Break all sharp edges and remove all burrs and slivers.
SURFACE DYED BLUE FOR IDENTIFICATION
HF
0.020 R ± 0.005
T = 0.008 (REF)
DO
100° ± 1°
A
HS
L
DI
For
Recommend
fast
ŘA
hole prep
Hf head Hs head
Dash size
DO
height
height
L
dia.
DI
Drill Drill
fastener1 sleeve1 ±0.0102
no.3 dia.
no. (ref) ±0.005
dia.
dia.
0.2545
0.2706
08
1/4
0.505
0.108
0.113
1.000
--
0.273
0.2530
0.2696
0.3331
0.3170
10
5/16
0.631
0.135
0.140
1.000
--
0.334
0.3155
0.3321
0.3795
0.3956
12
3/8
0.758
0.162
0.167
1.000
--
0.398
0.3780
0.3946
1
Reference dimensions are for design purposes only and are not an inspection or manufacturing requirement.
2
Uncut sleeve length is 1.000 inch. Before installation cut sleeve length to equal panel thickness (see figure 2).
3
Special drill is required.
FIGURE 1. Uninstalled grommet.
2
For Parts Inquires call Parts Hangar, Inc (727) 493-0744
© Copyright 2015 Integrated Publishing, Inc.
A Service Disabled Veteran Owned Small Business